据广东应急管理微信公众号消息,鉴于各地气温继续回升,本轮寒潮对我省的影响趋于减弱,根据《广东省防汛防旱防风防冻应急预案》和省防总有关规定,广东省防汛防旱防风总指挥部决定于12月24日15时结束防冻Ⅳ级应急响应。
预计,未来几天我省天晴寒冷干燥,昼夜温差大,粤北和珠江三角洲(中)北部市县早晨仍有低温冰(霜)冻。各地各部门要继续加强会商研判,扎实做好各项防御工作,确保人民群众生命财产安全。
应急响应虽解除
干冷依旧在!
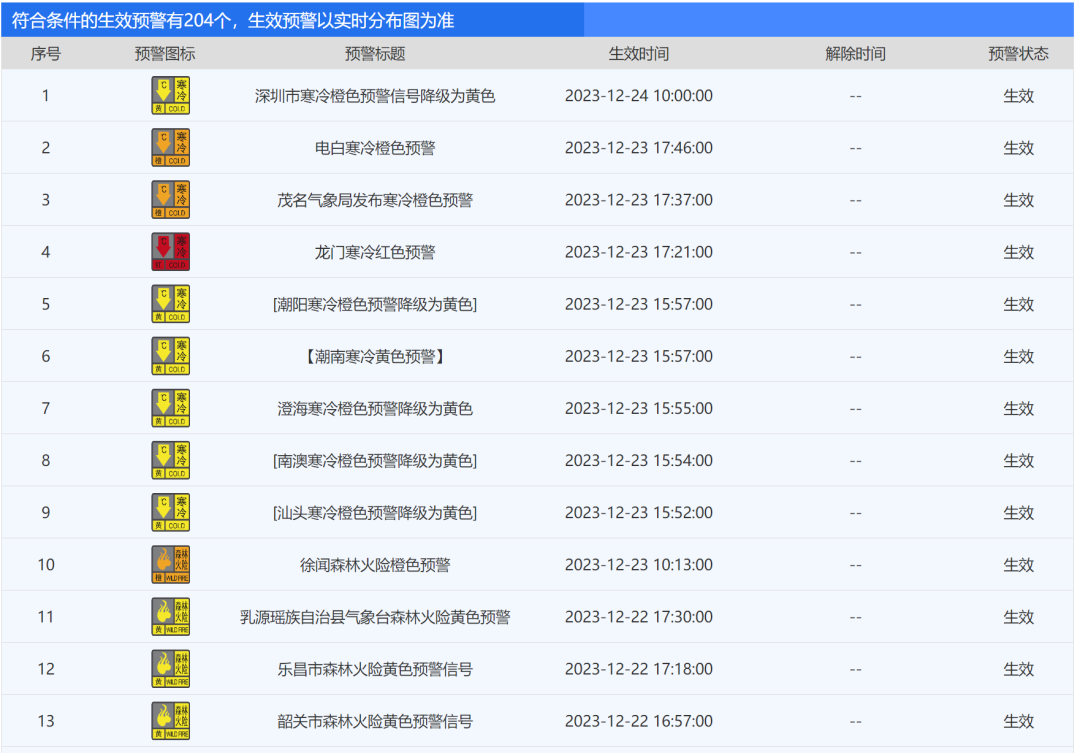
当前全省共204个预警信号,当中包括寒冷红色、橙色、黄色预警信号,森林火险橙色、黄色预警信号,强季风黄色预警信号……

在这样的天气下
安全事故时有发生
甚至因为低温而产生了爆炸和火灾!
【案例1】
2023年11月7日11时,黑龙江七台河一殡仪馆建筑物楼顶疑似发生塌陷。七台河市民政局回应:受暴雪天气影响,七台河市殡仪馆楼顶部分房檐装饰彩钢板脱落。事故幸未造成人员伤亡。
【案例2】
2021年1月20日上午10时左右,云南曲靖市某公司一个室外尾气吸收塔发生爆炸,事故造成12人受伤。

事故原因:气温过低,设备故障导致尾气塔压力过高,阀门失效所致。
【案例3】
2016年1月25日,江苏常熟经济技术开发区某公司一车间生产装置发生火灾,苏州及常熟消防共派出30多辆消防车赶至现场,至少200名消防队员参与救援。
事故原因:气温骤降,氢气管道阀门法兰电片冻裂,氢气外泄,强劲冲击力产生静电,引发火灾。
严寒天气
低温、大风等都给
安全生产带来风险
以下要点需牢记!


















